破碎整粒机
二维码

手机扫一扫

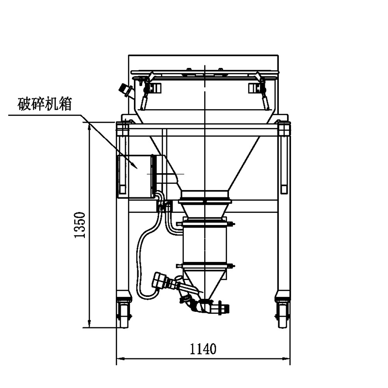
破碎整粒机由机架、破碎机、整粒机和控制柜4大部件组成。工作时,先将加工的原料倒入破碎斗的进料口后,先由破碎刀将大块或结晶物料进行破碎,落入锥形工作室,由旋转回转刀对原料起旋流作用,并以离心力将颗粒甩向筛网面,同时由于回转刀的高速旋转与筛网面产生剪切作用,颗粒在回转刀与筛网间被粉碎成小颗粒并经筛网孔排出。粉碎的颗粒大小,由筛网的目数,回转刀与筛网之间的间距以及回转转速的快慢来调节。粉碎好的细小颗粒由真空吸料进入下一道工序。


应用行业

药品.png 化工新材料.png 食物.png 生物制药.png

行业认证

ISO9001认证.png GMP生产车间.png 3C认证.png



强大的性能
强大的性能

可以带来强大的力量

免维护
免维护

全密封和免维护

出色的使用寿命
出色的使用寿命

比行业平均寿命长

推荐产品